TIDA-010248 Reference Design

Texas Instruments

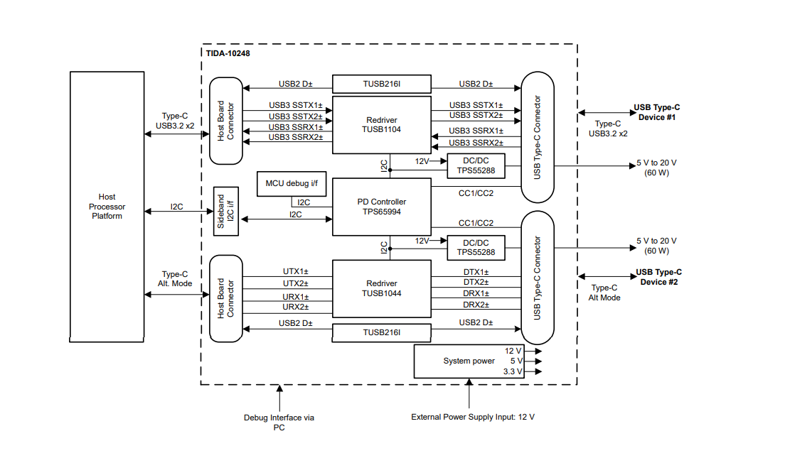
USB Type-C® power delivery and redriver reference design

Description

This USB Type-C power delivery (PD) and USB Type-C redriver reference design provides outputs from 5 V to 20 V with a maximum of 3 A for a total output power of 60 W. The redrivers support USB 3.2 (10 Gbps), USB 3.2 x 2 (20 Gbps) and DisplayPort 1.4 (8.1 Gbps). This reference design is used in industrial PC and HMI applications.

Features
  • Complete USB Type-C power delivery (PD) and redriver reference design
  • 5-V to 20-V PD over USB Type-C with 60 W of output power
  • Fully-configurable dual-port USB 4 and Thunderbolt 4 (TBT4) PD 3.0 controller
  • USB Type-C 10-Gbps USB 3.2 x 2 adaptive linear redriver
  • USB TYPE-C 10-Gbps multiprotocol bidirectional linear redriver
  • 5-V to 20-V 5-A buck-boost converter with I2C control interface
Applications
  • Industrial monitor
  • Portable monitor
  • Single board computer
  • Rugged PC & laptop
Product Categories
  • Interface

Bill Of Materials

Download the bill of materials for TIDA-010248 Download

Schematic

Detailed schematic diagram for design layout and components

Download the schematic for TIDA-010248

Design File

Reference design overview and verified performance test data

Download the design file for TIDA-010248